 
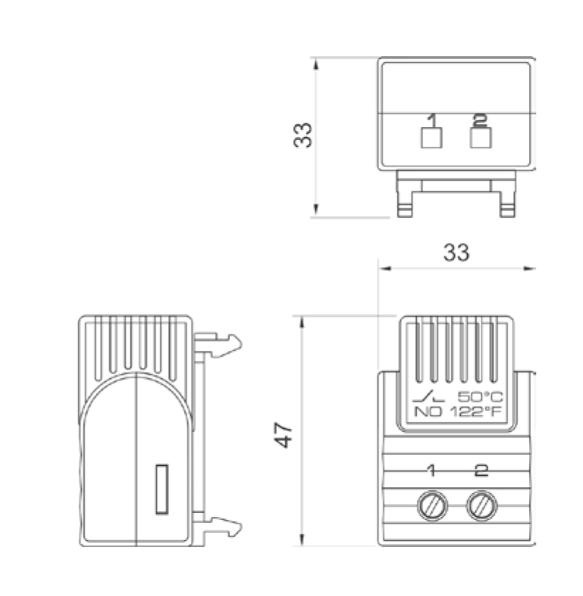
                            3150-3025-00-00
Fix-Thermostaat FTO
- Kleine afmetingen
- Vast ingestelde temperatuur
- Eenvoudige montage
Productomschrijving
Opener / NC voor het regelen van verwarmingen of voor het schakelen van signaalgevers bij temperatuur onderschrijding.
Het contact opent bij stijgende temperatuur.
Hoge schakelnauwkeurigheid.
Technische gegevens
- 
                                        Artikelnummer: 3150-3025-00-00
- 
                                        Beschermingsklasse: IP20
- 
                                        Temperatuurbereik: Uitschakeltemperatuur: +25 °C, Inschakeltemperatuur: +15 °C
- 
                                        Gebruiktemperatuur: van : -40 °C tot : +80 °C
- 
                                        LAGERTEMPERATUR: LAGERTEMPERATUR_VON : -45 °C LAGERTEMPERATUR_BIS : +80 °C
- 
                                        Contactwijze: Springcontact
- 
                                        Max. schakelvermogen: Wisselcontact
- 
                                        Max. inschakelstroom: AC 16 A voor 10 sec.
- 
                                        Levensduur: >100.000 cyclussen
- 
                                        Sensor: thermobimetaal
- 
                                        Instelling: Opener (verwarmen)
- 
                                        Montage: Klip voor 35 mm DIN-rail EN 60715
- 
                                        Elektrische aansluiting: 2 schroefklemmen, 2,5 qmm, max. aandraaimoment 0,8 Nm
- 
                                        Gewicht: 30 g
- 
                                        Afmeting: Breedte : 33 mm Hoogte : 47 mm Diepte : 33 mm
- 
                                        Oppervlakte: Kunststof lichtgrijs, UL94 V-O
- 
                                        Type: FTO25
- 
                                        Inbouwpositie: willekeurig
- Fix-Thermostat
 
                    
            
                                3184-0150-02-12
                            
                        
                    Kleine-verwarmingsventilator HG met PTC-regeling
                                        Nominale spanning
                                    
                                    
                                        
                                        115 V AC
                                    
                                
                        
                    
                        
                            
                                    
                                        Verwarmingsvermogen
                                    
                                    
                                        
                                        150 W
                                    
                                
                        
                    
                        
                            
                                    
                                        Toelating
                                    
                                    
                                        
                                        CE; cURus
                                    
                                
                        
                    
                 
                    
            
                                3184-0150-02-23
                            
                        
                    Kleine-verwarmingsventilator HG met PTC-regeling
                                        Nominale spanning
                                    
                                    
                                        
                                        230 V AC
                                    
                                
                        
                    
                        
                            
                                    
                                        Verwarmingsvermogen
                                    
                                    
                                        
                                        150 W
                                    
                                
                        
                    
                        
                            
                                    
                                        Toelating
                                    
                                    
                                        
                                        CE; cURus
                                    
                                
                        
                    
                 
                    
            
                                3184-0250-02-12
                            
                        
                    Kleine-verwarmingsventilator HG met PTC-regeling
                                        Nominale spanning
                                    
                                    
                                        
                                        115 V AC
                                    
                                
                        
                    
                        
                            
                                    
                                        Verwarmingsvermogen
                                    
                                    
                                        
                                        250 W
                                    
                                
                        
                    
                        
                            
                                    
                                        Toelating
                                    
                                    
                                        
                                        CE; cURus
                                    
                                
                        
                    
                 
                    
            
                                3184-0250-02-23
                            
                        
                    Kleine-verwarmingsventilator HG met PTC-regeling
                                        Nominale spanning
                                    
                                    
                                        
                                        230 V AC
                                    
                                
                        
                    
                        
                            
                                    
                                        Verwarmingsvermogen
                                    
                                    
                                        
                                        250 W
                                    
                                
                        
                    
                        
                            
                                    
                                        Toelating
                                    
                                    
                                        
                                        CE; cURus
                                    
                                
                        
                    
                 
                    
            
                                3184-0400-02-12
                            
                        
                    Kleine-verwarmingsventilator HG met PTC-regeling
                                        Nominale spanning
                                    
                                    
                                        
                                        115 V AC
                                    
                                
                        
                    
                        
                            
                                    
                                        Verwarmingsvermogen
                                    
                                    
                                        
                                        400 W
                                    
                                
                        
                    
                        
                            
                                    
                                        Toelating
                                    
                                    
                                        
                                        CE; cURus
                                    
                                
                        
                    
                 
                    
            
                                3184-0400-02-23
                            
                        
                    Kleine-verwarmingsventilator HG met PTC-regeling
                                        Nominale spanning
                                    
                                    
                                        
                                        230 V AC
                                    
                                
                        
                    
                        
                            
                                    
                                        Verwarmingsvermogen
                                    
                                    
                                        
                                        400 W
                                    
                                
                        
                    
                        
                            
                                    
                                        Toelating
                                    
                                    
                                        
                                        CE; cURus
                                    
                                
                        
                    
                 
                    
            
                                3185-0010-02-00
                            
                        
                    Kleine-halfgeleider-verwarming CSK met PTC
                                        Nominale spanning
                                    
                                    
                                        
                                        120 V tot 240 V AC/DC (min. 100 V, max. 265 V)
                                    
                                
                        
                    
                        
                            
                                    
                                        Verwarmingsvermogen
                                    
                                    
                                        
                                        10 W
                                    
                                
                        
                    
                        
                            
                                    
                                        Toelating
                                    
                                    
                                        
                                        CE; cURus
                                    
                                
                        
                    
                 
                    
            
                                3185-0010-02-24
                            
                        
                    Kleine-halfgeleider-verwarming CSK met PTC
                                        Nominale spanning
                                    
                                    
                                        
                                        24 V DC
                                    
                                
                        
                    
                        
                            
                                    
                                        Verwarmingsvermogen
                                    
                                    
                                        
                                        10 W
                                    
                                
                        
                    
                        
                            
                                    
                                        Toelating
                                    
                                    
                                        
                                        CE
                                    
                                
                        
                    
                 
                    
            
                                3185-0020-02-00
                            
                        
                    Kleine-halfgeleider-verwarming CSK met PTC
                                        Nominale spanning
                                    
                                    
                                        
                                        120 V tot 240 V AC/DC (min. 100 V, max. 265 V)
                                    
                                
                        
                    
                        
                            
                                    
                                        Verwarmingsvermogen
                                    
                                    
                                        
                                        20 W
                                    
                                
                        
                    
                        
                            
                                    
                                        Toelating
                                    
                                    
                                        
                                        CE; cURus
                                    
                                
                        
                    
                 
                    
            
                                3185-0020-02-24
                            
                        
                    Kleine-halfgeleider-verwarming CSK met PTC
                                        Nominale spanning
                                    
                                    
                                        
                                        24 V DC
                                    
                                
                        
                    
                        
                            
                                    
                                        Verwarmingsvermogen
                                    
                                    
                                        
                                        20 W
                                    
                                
                        
                    
                        
                            
                                    
                                        Toelating
                                    
                                    
                                        
                                        CE
                                    
                                
                        
                    
                 
                 
            
                                3186-0050-02-00
                            
                        
                    Halfgeleider-verwarming CS met PTC-regeling
                                        Nominale spanning
                                    
                                    
                                        
                                        min. 120 V max. 240 V AC/DC (min. 110 V, max. 265 V)
                                    
                                
                        
                    
                        
                            
                                    
                                        Verwarmingsvermogen
                                    
                                    
                                        
                                        50 W
                                    
                                
                        
                    
                        
                    
                        
                            
                                    
                                        Toelating
                                    
                                    
                                        
                                        CE; cURus
                                    
                                
                        
                    
                 
                 
            
                                3186-0100-02-00
                            
                        
                    Halfgeleider-verwarming CS met PTC-regeling
                                        Nominale spanning
                                    
                                    
                                        
                                        min. 120 V max. 240 V AC/DC (min. 110 V, max. 265 V)
                                    
                                
                        
                    
                        
                            
                                    
                                        Verwarmingsvermogen
                                    
                                    
                                        
                                        100 W
                                    
                                
                        
                    
                        
                    
                        
                            
                                    
                                        Toelating
                                    
                                    
                                        
                                        CE; cURus
                                    
                                
                        
                    
                 
                 
            
                                3186-0150-02-00
                            
                        
                    Halfgeleider-verwarming CS met PTC-regeling
                                        Nominale spanning
                                    
                                    
                                        
                                        min. 120 V max. 240 V AC/DC (min. 110 V, max. 265 V)
                                    
                                
                        
                    
                        
                            
                                    
                                        Verwarmingsvermogen
                                    
                                    
                                        
                                        150 W
                                    
                                
                        
                    
                        
                    
                        
                            
                                    
                                        Toelating
                                    
                                    
                                        
                                        CE; cURus
                                    
                                
                        
                    
                Montagehandleidingen:
                            
                        CAD-data en andere visualisaties:
                            
                        
                    
                        Contact
                    
                
            
            
    
            
                
    
        
            Vind je persoonlijke contactpersoon
        
    
            
        
            
                
    
        We zijn er voor jou
    
            
        Geoptimaliseerde behuizingen en kasten worden niet aan de lopende band gemaakt, maar in samenspraak met u. Bent u er klaar voor?
Spreek dan meteen met uw persoonlijke häwa adviseur. 
 
