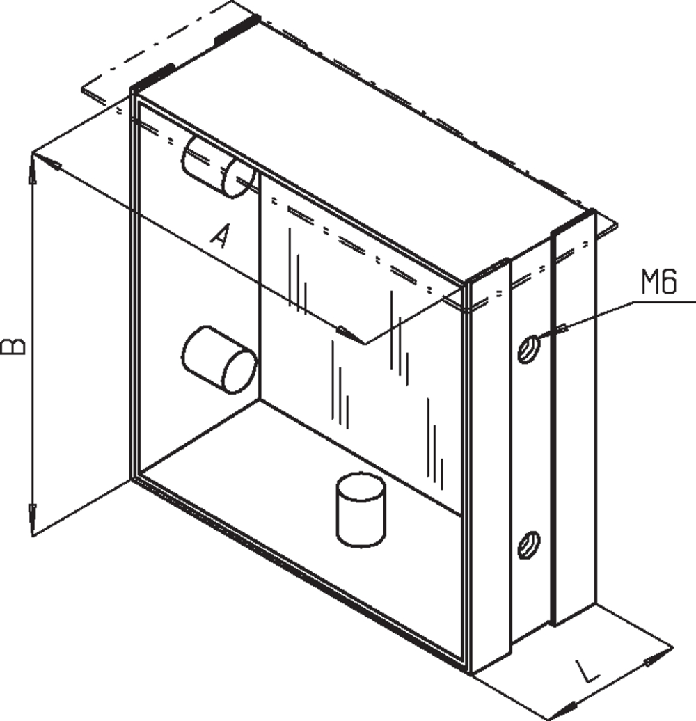
Eindkap binnen

1206-2002-00-00

Eindkap binnen

Productomschrijving

Voor het sluiten van kanaaleinden.

Technische gegevens

  • Artikelnummer: 1206-2002-00-00
  • Variant: zonder flens
  • Materiaal: Plaatstaal
  • 1 eindkap met inpersmoeren M6.
  • Dichtingen bijgesloten.
Opslaan als PDF Opslaan als PDF Directe vraag
Contact
Vind je persoonlijke contactpersoon
We zijn er voor jou

Geoptimaliseerde behuizingen en kasten worden niet aan de lopende band gemaakt, maar in samenspraak met u. Bent u er klaar voor?
Spreek dan meteen met uw persoonlijke häwa adviseur. 

Kies nu een adviseur

Empfangsmitarbeiterin Frau Sproll. Empfangsmitarbeiterin Frau Sproll.