
1206-0703-00-00
T-stuk deksel binnen
- Beschermklasse IP54.
- Doorgaand inlegbaar.
- Zeer stabiel.
Productomschrijving
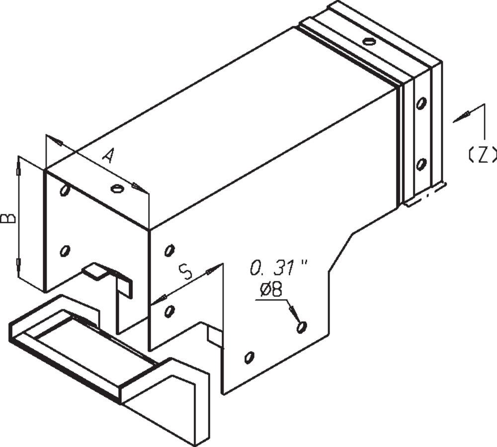
Kanaal met draadbouten M6 voor de potentiaal vereffening.
Met deksel en los bijgesloten knevelsluitingen van staal.
Zekeringskoord voor de zekering van deksels aan kabelgoot alsook aardingskabel zijn appart te bestellen.
Alle dichtingen zijn van olie-bestendig materiaal.
Een verbindings-U is geïntegreerd in het vormstuk (zie plaats Z).
Technische gegevens
-
Artikelnummer: 1206-0703-00-00
-
Variant: zonder flens
-
Materiaal: Plaatstaal
Tip
- Verbinding met andere vormdelen door middel van verbindings-U.
- Lengte AxB zijn kabelgoot binnen maten.
- 1 hoekstuk met deksel
- Eenzijdig zelfklevende dichting 12x4 mm
- Knevelsluiting los bijgesloten
Contact
Vind je persoonlijke contactpersoon
We zijn er voor jou
Geoptimaliseerde behuizingen en kasten worden niet aan de lopende band gemaakt, maar in samenspraak met u. Bent u er klaar voor?
Spreek dan meteen met uw persoonlijke häwa adviseur.

